FEMALE CAMLOCK DUST CAP

Contact Us

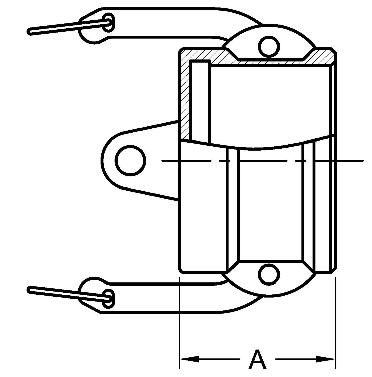
Part NumberSize (inches)ASTP File
MJG1001011.625
MJG150101 1/22.000
MJG2001022.063
MJG250102 1/23.063
MJG3001033.250
MJG4001042.625

Features:

Note: Location of eyelet may vary. “A” dimension for reference only.

Ready to Order?

Did you know

that the Partner Portal allows you to:

  • View available inventory
  • Access MTRs immediately
  • Simplify your order history with Customized Order View 

Sign Up Today